

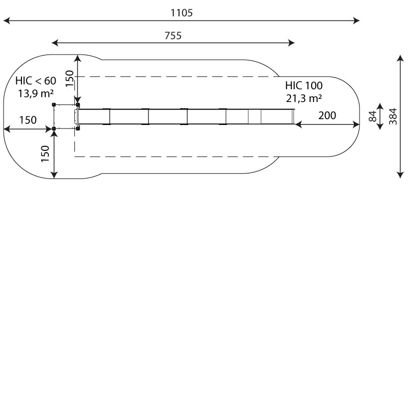
Length | 755 cm |
Width | 84 cm |
Total height | 581 cm |
Age group | 3 - 14 years |
Number of users | 3 kids |
Safety zone | 35,2 m2 |
Free fall height | <60 cm |
The height of the platforms | 35 cm |
In accordance with norm EN | 1176-1:2017+A1:2023 |
Weight of the heaviest part | 32 kg |
Dimensions of the largest part | 247x121x52 cm |
Availability of spare parts | YES |
Installation time | 3,0 h |